

掃碼下載APP
作者:管理員 來源:鑫匯寶2016-01-25 【字體:大中小】
在貴金屬投資市場,常見的黃金投資方式有很多種,如現貨黃金、黃金t+d、紙黃金、黃金期貨等。那麼甚麼是comex黃金?comex黃金持倉量如何查詢?comex黃金的交易方式主要是期貨或者是期權交易。
甚麼是comex?
comex就是紐約商業交易所,地處紐約曼哈頓金融中心,與紐約證券交易所相鄰。它的交易主要涉及能源和稀有金屬兩大類產品,但能源產品交易大大超過其他產品的交易。交易所的交易方式主要是期貨和期權交易,comex黃金就是指黃金期貨交易。
甚麼是comex黃金?
comex黃金交易是指以國際黃金市場未來某時點的黃金價格為交易標的的期貨合約,投資人買賣黃金期貨的盈虧,是由進場到出場兩個時間的黃金價格差來衡量,契約到期後可以選擇反方向交易手上的黃金期貨合約或者實物交割。
comex黃金交易時間(美國東部時間):8:25-13:25;電子盤交易時間:周日18:00至周五17:15,其中每天17:15-18:00間暫停45分鐘。
comex黃金持倉量如何查詢?
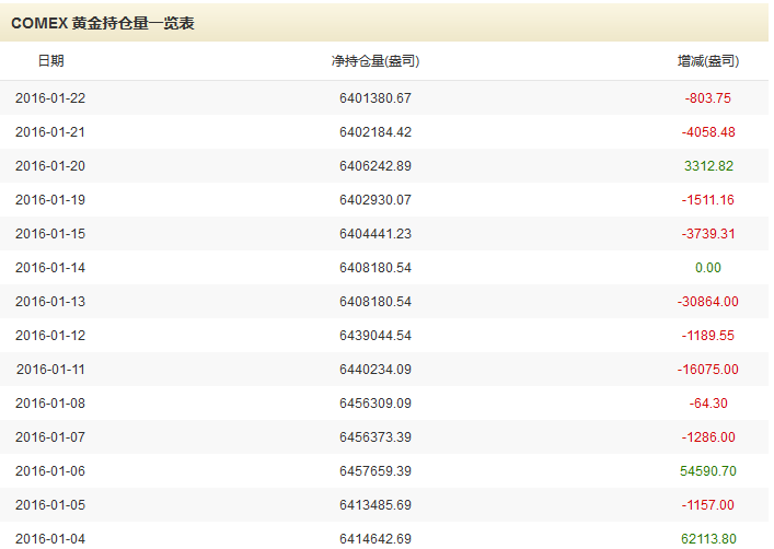
數據表類型在不同機構的呈現方式都不同、主要有無曆史數據和有曆史數據兩種呈現方式,無曆史數據的ETF數據表主要作為資訊發布;有曆史數據的comex黃金持倉量數據表可以在專業機構查詢到。以下是2016年1月的comex黃金持倉量走勢圖。
通過持倉量查詢,讓客戶可以知道最新comex黃金持倉量的變化,根據最新comex黃金持倉量,做出重要的決策,為客戶做comex黃金交易提供參考。該comex黃金持倉量是最新comex黃金持倉量,該數據是實時更新的。
免責聲明:此消息為鑫匯寶原創或轉自合作媒體,登載此文出於傳遞更多信息之目的,並不意味著贊同其觀點或證實其描述,請自行核實相關內容。文章內容僅供參考,不構成倫敦金投資建議。